Atención al cliente: +34 972 40 25 44 | Horario: Lunes a Viernes: 08:00 - 18:00h

Atención al cliente: +34 972 40 25 44 | Horario: Lunes a Viernes: 08:00 - 18:00h

¿ERES PROFESIONAL?

Atención al cliente: +34 972 40 25 44
Horario: Lunes a Viernes: 08:00 - 18:00h


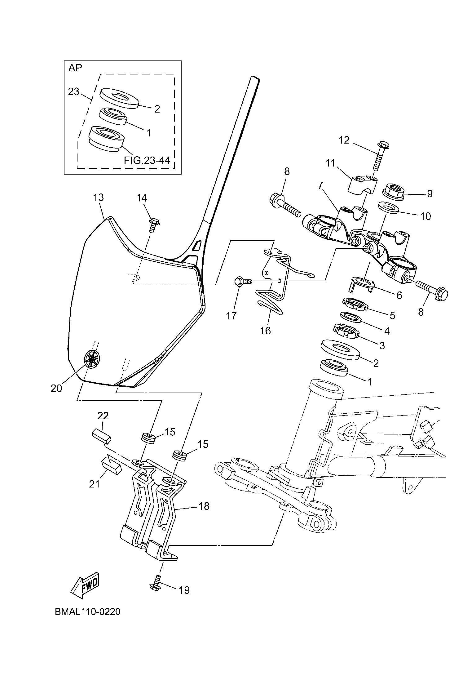
# Ref. unds. Precio/unidad
1 933999994900
BEARING
1 48,85 € +
2 5HP234160000
COVER, BALL RACE 2
1 17,28 € +
3 901792500300
NUT
1 7,99 € +
4 902022614200
WASHER, PLATE
1 1,37 € +
5 901792561500
NUT
1 16,12 € +
6 3YF234180000
WASHER, SPECIAL
1 9,16 € +
7 5B6234350100
CROWN, HANDLE
1 167,53 € +
8 950220803500
BOLT, FLANGE
1 1,07 € +
9 901792241200
NUT
1 25,79 € +
10 90201220T000
WASHER, PLATE
1 5,03 € +
11 1E6234411035
HOLDER, HANDLE UPPER
1 26,83 € +
12 950220803500
BOLT, FLANGE
1 1,07 € +
13 5B6234851000
PLATE, NUMBER
1 63,46 € +
14 958020601200
BOLT, FLANGE
1 0,38 € +
15 904801342800
GROMMET
1 2,46 € +
16 5B62317E0000
STAY 1
1 63,70 € +
17 958020601200
BOLT, FLANGE
1 0,38 € +
18 5B6234860000
STAY, PLATE
1 90,96 € +
19 958020601200
BOLT, FLANGE
1 0,38 € +
20 5FK2175C3100
TUNING FORK MARK
1 10,52 € +
21 5B6234450000
DAMPER
1 1,07 € +
22 5B6234550000
DAMPER
1 0,71 € +
23 BMAW000B0000
STEERING BEARING KIT
1 111,31 € +